The Marchex Solution - Using Human and Computer Filtering
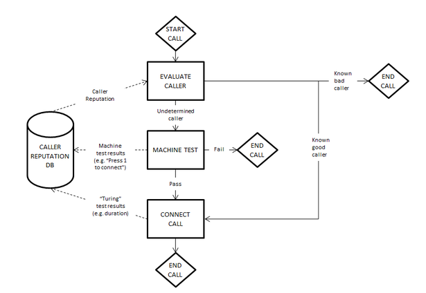
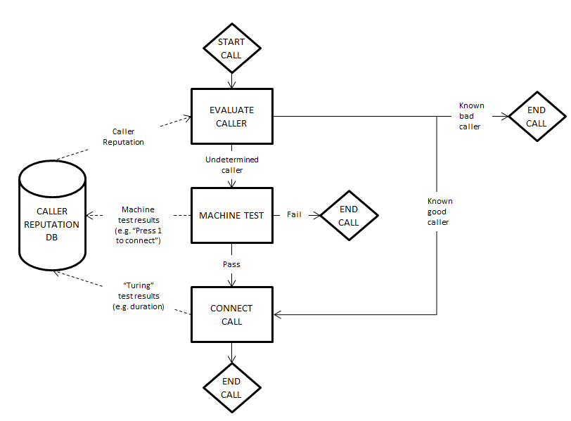
Consumers and businesses are affected by illegal robocalls every day. These calls are the junk mail of the telephony world. But they are more than a mere annoyance. When examined at scale, the net negative impact shows robocalls are disruptive to citizens and drain profits from businesses that rely heavily on phone calls. How do we know this? Our company, Marchex, helps national and local businesses track how well online advertising campaigns work by measuring phone calls generated from these ads. To do this, we have to effectively identify and remove robocallers that would otherwise distort results and slow down business for companies. Our technology employs the principles of battleground tactics – to stop the enemy, we must understand its weaknesses. Robocallers, first and foremost, fail simple tests. Many fail automated tests where they are asked to perform a simple task, e.g. “Press 1 to connect to the business.” And almost all robocallers are quickly identifiable to people, resulting in hang ups. In practice, millions of Turing tests are performed every day as robocallers reach people who then hang up as soon as they detect a machine. So Marchex devised a solution that works like this: Incoming phone numbers are tested by placing an automated voice-response system on a call before it connects. If the call goes through, we look at how the caller reacts by measuring duration. If the caller repeatedly fails voice-response tests or can’t keep people on the phone, then we have convincing evidence that these are likely robocallers. One of our most significant functionality upgrades took place this fall, when we invested in better whitelisting of specific phone numbers. All of the above happens automatically, without any involvement from consumers.

6 comments
Chapley Watson • about 13 years ago
This is not a valid solution. "Press 1 to connect to the business" is a step the caller should not have to make. The idea is to hamper robocallers without punishing the non robo callers asking them to jump through hoops to complete their call. Besides this system is brittle as there are only so many tests you're going to have for these calls and I could learn and work around them very quickly.
To defeat the enemy you must first understand your weakness.
Ziad Ismail • about 13 years ago
Chapley W,
Thanks for your comment. To address your two points:
1) "A step the caller should not have to make" - Every spam reduction system has trade-offs. Today, CAPTCHAs are universally used on the Internet because they reduce the amount of spam. You add a limited amount of friction to the process, but have a massive improvement in quality. Call quality systems function in exactly the same way. Further, these kind of prompts are commonly encountered by callers and are well understood.
2) "I could learn to work around them" - This is where the inclusion of the human element comes into play. You may have a robocalling system attempt to bypass the computer test, but at the point that a human picks up the phone the clock starts ticking. How long until a person detects that it is a robocall and quickly hangs up? Generally, people are very good at detecting these calls. Repeatedly, being hung up on by people is a strong signal that you are not delivering value through your calls.
Humans and computers are good at different things, but using the combination of signals from both sources provides a very robust solution.
Chapley Watson • about 13 years ago
Captchas are the bain of most people. There's a reason you don't see them on things such as shopping carts as sells would almost cease. The more layers you add between the person and their desired endpoint negatively effects the customer experience.
Ziad Ismail • about 13 years ago
Chapley W,
I don't love CAPTCHAs either. However, computer automated tests are a useful tool if used selectively.
To be clear, you don't need to deal with a voice IVR on every call, just the way you don't enter a CAPTCHA everytime you log into your email account. Instead, you can configure it to trigger on conditions:
1) A new caller in the system that doesn't have an existing reputation.
2) A new caller that has been hung up on people repeatedly and thus has a bad reputation in the system.
3) A previous good caller that has been hung up on people repeatedly and now has a bad reputation in the system.
In other circumstances, you can go straight through with no interruption. So, for well behaved users they would never see any interruption to their calls.
Chapley Watson • about 13 years ago
you listed 3 things but what about the 10,000 other variables? The problem with this conversation: I can't put details out there because spammers/robocallers are dodgy people. So my hands are tied. This system does have it's holes though.
This is the only way I see to start the process http://robocall.challenge.gov/forum_topics/1987
Maggie Barnes • about 13 years ago
I don't mind Captcha when it is reasonable. It doesn't have to be nearly obscured for the average person to be unreadable by a computer.
The failure point of most systems, it seems to me, is the problem with the phone service provider failing to authenticate the identity of the caller (phone service provider, line, billing name and address) to produce a caller-id that is actually meaningful, not just whatever number the robocaller is spoofing today.
Blacklisting a number can be dangerous and unfair for just this reason.